Alfa Romeo 147 (pokec)
Re: Alfa Romeo 147 (pokec)
čidla se daj proměřit, ale musíš vědět jaký mají mít odpor.
Mě se neptej nechci blbě poradit, ale co jsem tady četl tak často je problém s čidlem na klice.
Mě se neptej nechci blbě poradit, ale co jsem tady četl tak často je problém s čidlem na klice.
Limo* s bussem (166 3.0)
Ex: 156TS
Ex: 156TS
Re: Alfa Romeo 147 (pokec)
k46 je tedy vačka a klika má číslo které prosím Vás ? jdu googlit ty odpory..
- Princ William
- Štamgast
- Příspěvky: 526
- Registrován: 27.10.2010, stř 10:01
- Bydliště: Plzeň
Re: Alfa Romeo 147 (pokec)
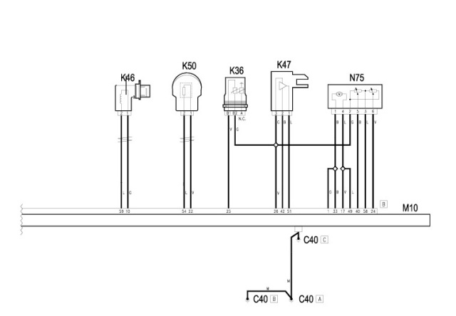
Tak hele tady jsem něco dohledal; organizační popisky jsou stejný jako na předchozí stránce (to co potřebuješ má 77 a 88 kW 1.6 stejný)
K46 - RPM sensor
K47 - Timing sensor
K50 - Detonation sensor - 1
K51 - Knock sensor - 2 (tohle si už vyměnil) na obrázku ho ale nevidim.
Jak vidíš na obrázku, K47 je propojen s K36 (Engine temperature sender unit) a N75 (Throttle body actuator), takže proto asi chyby všeho najednou, když je čidlo špatný.
P.S.
M10 je ŘJ motoru.
VŠE JE JEN DOPORUČENÍ, CO BUDEŠ NAKUPOVAT JE JEN NA TOBĚ!!
K46 - RPM sensor
K47 - Timing sensor
K50 - Detonation sensor - 1
K51 - Knock sensor - 2 (tohle si už vyměnil) na obrázku ho ale nevidim.
Jak vidíš na obrázku, K47 je propojen s K36 (Engine temperature sender unit) a N75 (Throttle body actuator), takže proto asi chyby všeho najednou, když je čidlo špatný.
P.S.
M10 je ŘJ motoru.
VŠE JE JEN DOPORUČENÍ, CO BUDEŠ NAKUPOVAT JE JEN NA TOBĚ!!
AR 147 QV, 1.6 TS 88 kW, 2009, 5d, Bianco Pastello HWB
Re: Alfa Romeo 147 (pokec)
no to je pěkné teda.. RPM signál v hlášení chyb měl hodnotu žádný signál , ostatní signály byly buď silné nebo špatné.. To by mělo ty na sebe návaznost teda.. ale jsem v nejistotě který koupit jestli tu vačku nebo kliku ,resp už jsem byl rozhodnutý pro vačku ale dallen mě znejistil. 
- Dresik
- Štamgast
- Příspěvky: 577
- Registrován: 5.1.2007, pát 16:19
- Bydliště: Praha-východ
- Kontaktovat uživatele:
Re: Alfa Romeo 147 (pokec)
POkud si dobre vzpominam a je to stejne jako na JTD, tak pokud je spatne cidlo vacky, tak to nenastartuje, ale jakmile to chytne a vypojis konektor vacky, nezdechne to.
Zdechnout by to melo jen, pokud by byl spatny senzor na klice.
Zdechnout by to melo jen, pokud by byl spatny senzor na klice.
Alfa Romeo MiTO 1.6 JTDm
Alfa Romeo 75 1.6carb
Lancia Delta HPE HF16v Turbo
Lancia Delta HFIntegrale 8v
Lancia Beta 1300
Fiat Punto Cabrio
IVECO DAILY I odtahový speciál
Ex-156 GTA,JTDm,...
ITALMOTORI servis
Alfa Romeo 75 1.6carb
Lancia Delta HPE HF16v Turbo
Lancia Delta HFIntegrale 8v
Lancia Beta 1300
Fiat Punto Cabrio
IVECO DAILY I odtahový speciál
Ex-156 GTA,JTDm,...
ITALMOTORI servis
Re: Alfa Romeo 147 (pokec)
budu je muset zkusit vytáhnout , proštříkat kontaktolem a zkusit teda jak jsi říkal , odpojit ten na vačce až bude auto nastartované ale to nevím jak , když se tam bude točit řemen . Čídlo vačky vím kde je , to musím sundat řemen a dostat se k němu nebude žádná sranda ale u kliky by mohlo být někde z venku šikovně umístěné ne ? Jinak když proměřím odpory tak bych měl eventuelně dostat taky nějáký výsledek , zda-li je to čidlo funkční ne ?Má někdo tady tu tabulku s čidlama nebo něco podobného ? Já našel jen toto http://sosmecanico.kit.net/Ca21.htm
je to na 145tku
a tam jsou právě ty hodnoty odporů rozepsané pěkně no...
je to na 145tku
- Dresik
- Štamgast
- Příspěvky: 577
- Registrován: 5.1.2007, pát 16:19
- Bydliště: Praha-východ
- Kontaktovat uživatele:
Re: Alfa Romeo 147 (pokec)
To je, ale na 1.6 boxera. Ja bych se zameril spise na to cidlo kliky. To bude bud na bloku a bude to snimat ze setrvaku a nebo na remenici dole na rozvodech
Alfa Romeo MiTO 1.6 JTDm
Alfa Romeo 75 1.6carb
Lancia Delta HPE HF16v Turbo
Lancia Delta HFIntegrale 8v
Lancia Beta 1300
Fiat Punto Cabrio
IVECO DAILY I odtahový speciál
Ex-156 GTA,JTDm,...
ITALMOTORI servis
Alfa Romeo 75 1.6carb
Lancia Delta HPE HF16v Turbo
Lancia Delta HFIntegrale 8v
Lancia Beta 1300
Fiat Punto Cabrio
IVECO DAILY I odtahový speciál
Ex-156 GTA,JTDm,...
ITALMOTORI servis
Re: Alfa Romeo 147 (pokec)
Ahojte všichni,
stal jsem se novým majitelem Alfy 147 2.0 Selespeed. Sice to je skoro automat, ale zase ot má pádla pod volantem, tak to snad přežiju...
Ale stala se mi krásná věc - Auto jsem koupil přes bazar na doporučení jednoho z alfistů tady na webu. Krátce poté, co jsem s ním přijel domů, se mi nepozdával divný zvuk, který byl slyšet když se přidal plyn. Tak jsem chytil nerva, zajel do servisu(servisovali všechny moje předchozí fiaty a byl jsem nadmíru spokojen), kde mi řekli, že buď tam klepe nějaký plech anebo je chycená klika.
Po ohledání všeho, co by mohlo rezonovat, jsem zase chytil nerva, a řekl si, že i přesto, že má alfička najeto 116 tkm je asi chycená na klice. Tak jsem sundal vanu a ejhle, šály jsou opotřebené úměrně k najetým kilometrům. Pak jsem se podíval na první díl výfuku a bylo mi vše jasné
Fakt jsem věřil zkušeným servisákům a málem jsem rozebral celý motor a dal kliku na přebrus.
Zajímavé, že hned při koupi jsem dělal emise a v pohodě prošly...jenom ten zvuk...
stal jsem se novým majitelem Alfy 147 2.0 Selespeed. Sice to je skoro automat, ale zase ot má pádla pod volantem, tak to snad přežiju...
Ale stala se mi krásná věc - Auto jsem koupil přes bazar na doporučení jednoho z alfistů tady na webu. Krátce poté, co jsem s ním přijel domů, se mi nepozdával divný zvuk, který byl slyšet když se přidal plyn. Tak jsem chytil nerva, zajel do servisu(servisovali všechny moje předchozí fiaty a byl jsem nadmíru spokojen), kde mi řekli, že buď tam klepe nějaký plech anebo je chycená klika.
Po ohledání všeho, co by mohlo rezonovat, jsem zase chytil nerva, a řekl si, že i přesto, že má alfička najeto 116 tkm je asi chycená na klice. Tak jsem sundal vanu a ejhle, šály jsou opotřebené úměrně k najetým kilometrům. Pak jsem se podíval na první díl výfuku a bylo mi vše jasné
Fakt jsem věřil zkušeným servisákům a málem jsem rozebral celý motor a dal kliku na přebrus.
Zajímavé, že hned při koupi jsem dělal emise a v pohodě prošly...jenom ten zvuk...
Naposledy upravil(a) Denis dne 8.11.2012, čtv 20:37, celkem upraveno 1 x.
147 Selespeed
Re: Alfa Romeo 147 (pokec)
Zpět k mému problemu : Dnes jsem vyměnil senzor otáček ( né senzor na vačce ) a ujel jsem s autem 48 km bez chcípnutí ani náznaku úmrtí . Nechci to zakřiknout ale snad to bude v pohodě . Teplota pěkně na 90ti byla , akorát mi vyskočila kontrolka motoru zase tak se musím podívat co to je , ještě jsem od minulého týdne nesmazal ty chyby předešlé.. Jen škoda že jsem kupoval ten senzor klepání , mohl jsem tisícovku a práci kámoše ušetřit no 
Re: Alfa Romeo 147 (pokec)
Venomcz: Při přehřátí RPM senzor rád kolabuje, když je starší. Nejlepší je na tohle osciloskop:)
147 Selespeed
Re: Alfa Romeo 147 (pokec)
zas měl ty propálené dráty a časem by dělal taky problém, tak jsi to opravil s předstihem 
Re: Alfa Romeo 147 (pokec)
zas měl ty propálené dráty a časem by dělal taky problém, tak jsi to opravil s předstihem 
- Dresik
- Štamgast
- Příspěvky: 577
- Registrován: 5.1.2007, pát 16:19
- Bydliště: Praha-východ
- Kontaktovat uživatele:
Re: Alfa Romeo 147 (pokec)
Alfa Romeo MiTO 1.6 JTDm
Alfa Romeo 75 1.6carb
Lancia Delta HPE HF16v Turbo
Lancia Delta HFIntegrale 8v
Lancia Beta 1300
Fiat Punto Cabrio
IVECO DAILY I odtahový speciál
Ex-156 GTA,JTDm,...
ITALMOTORI servis
Alfa Romeo 75 1.6carb
Lancia Delta HPE HF16v Turbo
Lancia Delta HFIntegrale 8v
Lancia Beta 1300
Fiat Punto Cabrio
IVECO DAILY I odtahový speciál
Ex-156 GTA,JTDm,...
ITALMOTORI servis
Re: Alfa Romeo 147 (pokec)
nemám fotky chlapci , což mě mrzí , ale nový senzor měl cca 950 ohmů a starý o stovku méně . Nevím jaká je tolerance u těch senzorů , u některých bývá např 2500 až 5000 ohmů , tak nevím jak je to u tohoto . Byl celý zasraný od oleje , což nezvěstí nic dobrého.
Postup ,kdyby někdo chtěl vědět:
Odpojení sání od škrtící klapky a filtru , ať nezavazí
sundání škrtící klapky(nic se neodpojuje)
doporučuju vytáhnutí baterky , ať nezavazí , lepší přístup a je to otázka minuty
a 3 šrouby ze startéru vyšroubovat,startér pryč(nic neodpojovat)
Pak se Vám ukáže senzor ,který má krásný přístup a dokázal by ho vyměnit i prvňák
Toto byl můj postup , nikomu ho nevnucuju.Otázka hodinky i s uklizením po sobě.
Jinak všem děkuju , co se podíleli a snažili se mi nějak poradit . Bez vás bych asi dlouho bloudil a utratil možná i mnohem víc peněz , než bych přišel čím to je . Nechci to zakřiknout ale snad to bude OK
Postup ,kdyby někdo chtěl vědět:
Odpojení sání od škrtící klapky a filtru , ať nezavazí
sundání škrtící klapky(nic se neodpojuje)
doporučuju vytáhnutí baterky , ať nezavazí , lepší přístup a je to otázka minuty
a 3 šrouby ze startéru vyšroubovat,startér pryč(nic neodpojovat)
Pak se Vám ukáže senzor ,který má krásný přístup a dokázal by ho vyměnit i prvňák
Toto byl můj postup , nikomu ho nevnucuju.Otázka hodinky i s uklizením po sobě.
Jinak všem děkuju , co se podíleli a snažili se mi nějak poradit . Bez vás bych asi dlouho bloudil a utratil možná i mnohem víc peněz , než bych přišel čím to je . Nechci to zakřiknout ale snad to bude OK

- Princ William
- Štamgast
- Příspěvky: 526
- Registrován: 27.10.2010, stř 10:01
- Bydliště: Plzeň
Re: Alfa Romeo 147 (pokec)
Tak to tedy
Hodně km bez oprav a kolegové v práci už mají po hehe.

Hodně km bez oprav a kolegové v práci už mají po hehe.
AR 147 QV, 1.6 TS 88 kW, 2009, 5d, Bianco Pastello HWB
Re: Alfa Romeo 147 (pokec)
Zdravíčko, mám 147 asi týden, a jen dotaz, je možné koupit pouze to tlačítko na výhřev sedačky? už mi nesvítí ta dioda po zapnutí a je takové polorozpadlé...
AR 147 JTDm | 88kW @ 103kW | 2006 | Progression | BOSE | EGR + DPF OFF by Autoscan.cz
www.foliatecshop.cz | www.omp-shop.cz | www.sparco-shop.cz
www.foliatecshop.cz | www.omp-shop.cz | www.sparco-shop.cz
Re: Alfa Romeo 147 (pokec)
ano, v autorizáku nebo vrakáč, ale tam asi nebude v nejlepším stavu
- Princ William
- Štamgast
- Příspěvky: 526
- Registrován: 27.10.2010, stř 10:01
- Bydliště: Plzeň
Re: Alfa Romeo 147 (pokec)
Ahoj, koupit se dá, objednací číslo 183 589 680, cena necelých 11 stovek. Neni to zrovna nejlevnější.Jenik píše:Zdravíčko, mám 147 asi týden, a jen dotaz, je možné koupit pouze to tlačítko na výhřev sedačky? už mi nesvítí ta dioda po zapnutí a je takové polorozpadlé...
AR 147 QV, 1.6 TS 88 kW, 2009, 5d, Bianco Pastello HWB
Re: Alfa Romeo 147 (pokec)
za podobnou cenu koupíš na ebay tlačitko i s dečkou 
Re: Alfa Romeo 147 (pokec)
najde se najaky borec co se vyzna ve 147ckach v jetedecku?
kdyztak prosim sz 
AR 159 SW 2.4 jtdm... babička Máňa
AR Giulietta 1.4t-jet
AR Spider 2000 Veloce
a jiné...
AR Giulietta 1.4t-jet
AR Spider 2000 Veloce
a jiné...
Re: Alfa Romeo 147 (pokec)
když chceš radu okolo JTD, tak bude lepší přímo sekce JTD, ony ty motory jsou ve více autech stejné 
Re: Alfa Romeo 147 (pokec)
Protože je téma "střešní nosič" mrtvý dám to sem - dostanu to na 147 rok 2005? V popisu je napsanej jenom ročník 01
http://www.ebay.de/itm/Roof-Bars-Box-fo ... 2323b34be2
edit: sakra, špatně sem si to přečet, je tam onwards .. moje chyba, pardon
http://www.ebay.de/itm/Roof-Bars-Box-fo ... 2323b34be2
edit: sakra, špatně sem si to přečet, je tam onwards .. moje chyba, pardon
Spider 3.0 V6 12v
MiTo 1.6JTDm
"Drive it like you stole it"+|S
Bývávalo
147 1.6TS ECO ˟²| GT 1.9JTDm ˟²| 159 1.9JTDm 8V | 147 Q2 | Abarth 500 esseesse |Giulietta QV |
MiTo 1.6JTDm
"Drive it like you stole it"+|S
Bývávalo
147 1.6TS ECO ˟²| GT 1.9JTDm ˟²| 159 1.9JTDm 8V | 147 Q2 | Abarth 500 esseesse |Giulietta QV |
- Princ William
- Štamgast
- Příspěvky: 526
- Registrován: 27.10.2010, stř 10:01
- Bydliště: Plzeň
Re: Alfa Romeo 147 (pokec)
Tak bavíme se tady zase o novým z AR, proto ta cena.Petr147 píše:za podobnou cenu koupíš na ebay tlačitko i s dečkou
Zajímavý je, že v druhém autě co máme v rodině (taky 147), oděšlo jedno tlačítko. Po přehození od spolujezdce postupem času odešlo i druhé. Měl jsem to rozebrané a není to zrovna moc dobře technicky vyřešený, tak na "jetým" možná nic neušetří
AR 147 QV, 1.6 TS 88 kW, 2009, 5d, Bianco Pastello HWB
Re: Alfa Romeo 147 (pokec)
tak to je dobrý, v eperu jsem našel něco o 850 czk a ti pizzažrouti si řeknou 1100 ?! To si počkám dokud nepřestane fungovat úplně...světýlko vem čert.
AR 147 JTDm | 88kW @ 103kW | 2006 | Progression | BOSE | EGR + DPF OFF by Autoscan.cz
www.foliatecshop.cz | www.omp-shop.cz | www.sparco-shop.cz
www.foliatecshop.cz | www.omp-shop.cz | www.sparco-shop.cz
- Princ William
- Štamgast
- Příspěvky: 526
- Registrován: 27.10.2010, stř 10:01
- Bydliště: Plzeň
Re: Alfa Romeo 147 (pokec)
Ta cena je měsíc stará z Plzně, nevim přesně. Mam takový pocit, že říkal 1016 Kč. Vím, že do 1100 to bylo tutově.Jenik píše:tak to je dobrý, v eperu jsem našel něco o 850 czk a ti pizzažrouti si řeknou 1100 ?! To si počkám dokud nepřestane fungovat úplně...světýlko vem čert.
Světýlko - je tam ta malá dioda (ne SMD, asi ta 3mm - oranžová nebo žlutá), cena tak 10 Kč, pokud se ti s tím chce opravovat, víš už víc.
AR 147 QV, 1.6 TS 88 kW, 2009, 5d, Bianco Pastello HWB
Kdo je online
Uživatelé prohlížející si toto fórum: Ahrefs [Bot] a 1 host
