Divný, mě to svítilo tak jsem koupil novou baterku a s tou to přestalo chodit úplně, po rozebrání klíčevyčištění dosedacích ploch takových těch plíšků co se opíraj o baterku vše začalo fungovat.... tak nevimDallen píše:To jsem taky zjistil v klicku je CR2032, ja mel tu tenci, ale funguje to sni taky.
Potvrzeno jak to sviti tak je to vybite.
Klíček ke 156 a vše kolem
Re: Klíček ke 156 a vše kolem
Alfa 156SW 2.4JTD 103kw
Alfa 75 2.0TD
Alfa 75 2.0TD
- Raimmi
- Příspěvky: 1
- Registrován: 23.5.2012, stř 00:22
- Bydliště: Olomoucký kraj
- Kontaktovat uživatele:
Re: Klíček ke 156 a vše kolem
Zdravím,
nefunguje mi na 156tce centrál, ani na klíč ani na DO, pojistka je o.k., zkoušel jsem jí i vyměnit. Je to r.v. 98, po čem jít?
nefunguje mi na 156tce centrál, ani na klíč ani na DO, pojistka je o.k., zkoušel jsem jí i vyměnit. Je to r.v. 98, po čem jít?
Re: Klíček ke 156 a vše kolem
Je tu někdo, kdo zapojoval neoriginální dálkové ovládání centrálu s tím, že může otevírat i kufr? Koukal jsem dozádu a elektromagnet v zámku je. Tak už jen najít ten správný vodič. Ví někdo barvu? Popř kde najdu ŘJ centrálu (facelift) . Přeci jen otevírat kufr pouze od řidiče je trochu nepraktické :-) Předem díky :-)
AR145 JTD 208HP 480NM http://horsepowers.in/diskuze/index.php?msg_group=1&action=show&id=105901
EX: AR156 JTDm SW 216HP - opel mi už nesmí do baráku...
EX: Lancia Kappa 2.4 129kW - fajn kočár
EX: AR156 JTDm SW 216HP - opel mi už nesmí do baráku...
EX: Lancia Kappa 2.4 129kW - fajn kočár
Re: Klíček ke 156 a vše kolem
Bratře milý, vydrž až se k Tobě dostanu, můžeš si to proměřit a najít podle mého originálu.
Jinak k těm klíčům:
1. Klíč (vystřelovací s dálkou) u nás výjde na cca 7000,- (1200,- kodová karta, 600,- nakodování a kolem 5500,- klíč) ten samý klíč bez dálky cca 5500)
2. Co jsem pochopil každý se bavíte o jiném klíči staré červené provedení a nové černé provedení s vystřelovacím klíčem
Neví co stojí staré provedení, ale s tím klíčem jsem si užil u bejvalé 145, červený klíče se dá rozebrat třeba z lepšího klíče vyměnit půlka krytu, kde není usazen klíč, gumové tlačítko zvrchu a baterka to je vše. Pokud se někomu zlomil klíč tak je zapotřebí vyndat i tištěný spoj, který se u těchto dálek nedá překodovat musí se zahodit a nový čistý tišťák z AR nakodovat, (tato informace je z Regio auto HK), poté co zůstane majiteli jen jedna půlka se zlomenou planžeto stačí malou vrtačku správný vrták a odvrtat kousek toho čepu, který prochází klíčem lehce nahřát a výjmout planžetu, kterou vám udělají v jakémkoli zámečtnictví a postup (bez vrtání) zopakovat zpět
3. S novými dálkami (černými) zatím zkušenosti nemám a doufám, že je ani nebudu muset nabýt
Tak snad se někdo dozvěděl více :-)
Jinak k těm klíčům:
1. Klíč (vystřelovací s dálkou) u nás výjde na cca 7000,- (1200,- kodová karta, 600,- nakodování a kolem 5500,- klíč) ten samý klíč bez dálky cca 5500)
2. Co jsem pochopil každý se bavíte o jiném klíči staré červené provedení a nové černé provedení s vystřelovacím klíčem
Neví co stojí staré provedení, ale s tím klíčem jsem si užil u bejvalé 145, červený klíče se dá rozebrat třeba z lepšího klíče vyměnit půlka krytu, kde není usazen klíč, gumové tlačítko zvrchu a baterka to je vše. Pokud se někomu zlomil klíč tak je zapotřebí vyndat i tištěný spoj, který se u těchto dálek nedá překodovat musí se zahodit a nový čistý tišťák z AR nakodovat, (tato informace je z Regio auto HK), poté co zůstane majiteli jen jedna půlka se zlomenou planžeto stačí malou vrtačku správný vrták a odvrtat kousek toho čepu, který prochází klíčem lehce nahřát a výjmout planžetu, kterou vám udělají v jakémkoli zámečtnictví a postup (bez vrtání) zopakovat zpět
3. S novými dálkami (černými) zatím zkušenosti nemám a doufám, že je ani nebudu muset nabýt

Tak snad se někdo dozvěděl více :-)
Alfa Romeo 156 2,4 JTDm 129kW (2005)
Bejvalky:
Alfa Romeo 145 1,9 JTD 77kW (1999)
Alfa Romeo 156 1,9 JTD 85kW (2003)
Bejvalky:
Alfa Romeo 145 1,9 JTD 77kW (1999)
Alfa Romeo 156 1,9 JTD 85kW (2003)
- DERGO
- Nováček
- Příspěvky: 141
- Registrován: 16.1.2010, sob 11:01
- Bydliště: Zlín/Kroměříž
- Kontaktovat uživatele:
Ztráta chipu z klíčku imobilizéru
Zdravím, kamarád ztratil z klíčku chip k imobilizéru a kartičku s kodama také nemá. Jde nějak nastartovat i bez těhle kodů? případně mi zůstalo po mém autě jednotka k imobilizéru i s chipem. motorizace je stejná 2.4 JTD 100kw. Jde mi o to, jestli je jednotka imobilizéru nějak kodově propojená s řídící jednotkou. Pokud ano, tak zda by šlo vyměnit z mého auta i řídící jednotku. Chyba je na autě 156 2.4 JTD r.v. 1999 ... a náhradní díly ( řídící jednotku i imobilizér ) je z auta 166 2.4 JTD r.v. 2000. Díky za rady..
Alfa Romeo GT by Novitec 1.9 JTDm r.v. 2004
EX: (jezdí v ní dědeček hříbeček :))Alfa Romeo 145 1.8 TS 103kw r.v.1998 - konečně malé Cuoresportivo
EX(nedobrovolně): Alfa Romeo 166 2.4 JTD 100kw r.v.2000 šedá metal RIP
EX: (jezdí v ní dědeček hříbeček :))Alfa Romeo 145 1.8 TS 103kw r.v.1998 - konečně malé Cuoresportivo
EX(nedobrovolně): Alfa Romeo 166 2.4 JTD 100kw r.v.2000 šedá metal RIP
Re: Ztráta chipu z klíčku imobilizéru
Novy cip do klicku bcetne code karty zvladnu udelat. To neni poblem staci Sz.
Vymenit jednotky na 80% nepude v 166 je jina a navic kolem 2000 se menili bosch a MM. Ale zkusit to muzes ovsem ja bych to nedelal.
Vymenit jednotky na 80% nepude v 166 je jina a navic kolem 2000 se menili bosch a MM. Ale zkusit to muzes ovsem ja bych to nedelal.
Limo* s bussem (166 3.0)
Ex: 156TS
Ex: 156TS
Re: Klíček ke 156 a vše kolem
Pro všechny, kteří potřebují nový klíč, mají teď super příležitost na stránkách http://www.stualarm.cz
Zde je přímý odkaz: http://www.stualarm.cz/kategorie/zabezp ... e-ovladce/
Zde je přímý odkaz: http://www.stualarm.cz/kategorie/zabezp ... e-ovladce/
Alfa Romeo 156 2,4 JTDm 129kW (2005)
Bejvalky:
Alfa Romeo 145 1,9 JTD 77kW (1999)
Alfa Romeo 156 1,9 JTD 85kW (2003)
Bejvalky:
Alfa Romeo 145 1,9 JTD 77kW (1999)
Alfa Romeo 156 1,9 JTD 85kW (2003)
Re: Klíček ke 156 a vše kolem
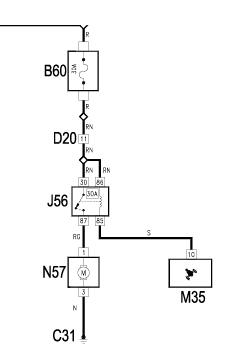
Stále nemám vyřešené otevírání kufru neorigo dálkou. Dle eLearn se celkem logicky spíná elektromagnet přes Relé. Byl by někdo ochotný (spolíhám hlavně na tebe Tesíno) vyzkoumat, kdepak se relé "J56" nachází??? Určitě bude stačit jen mačkat dálku a jít po slechu :-)
eLearn mám otevřený asi poprvé, jestli se tam dá dohledat i pozice, budu rád za tuto pomoc :-)
eLearn mám otevřený asi poprvé, jestli se tam dá dohledat i pozice, budu rád za tuto pomoc :-)
Naposledy upravil(a) BotasITC dne 24.9.2012, pon 21:47, celkem upraveno 1 x.
AR145 JTD 208HP 480NM http://horsepowers.in/diskuze/index.php?msg_group=1&action=show&id=105901
EX: AR156 JTDm SW 216HP - opel mi už nesmí do baráku...
EX: Lancia Kappa 2.4 129kW - fajn kočár
EX: AR156 JTDm SW 216HP - opel mi už nesmí do baráku...
EX: Lancia Kappa 2.4 129kW - fajn kočár
Re: Klíček ke 156 a vše kolem
Přes neorigo dálku snad není potřeba nic takého řešit.
Kontakt máš na jednotce, relé si píchneš kam chceš a silovinu natáhneš někde z pojistkovky.
Kontakt máš na jednotce, relé si píchneš kam chceš a silovinu natáhneš někde z pojistkovky.
Limo* s bussem (166 3.0)
Ex: 156TS
Ex: 156TS
Re: Klíček ke 156 a vše kolem
Šak stačí na tohle relé napojit výstup z nové jednotky a je hotovo. Jakápak silovina...
AR145 JTD 208HP 480NM http://horsepowers.in/diskuze/index.php?msg_group=1&action=show&id=105901
EX: AR156 JTDm SW 216HP - opel mi už nesmí do baráku...
EX: Lancia Kappa 2.4 129kW - fajn kočár
EX: AR156 JTDm SW 216HP - opel mi už nesmí do baráku...
EX: Lancia Kappa 2.4 129kW - fajn kočár
Re: Klíček ke 156 a vše kolem
Silovina jsem to přehnal (el.mag má běžně kolem 20A).
Pokud to nemáš origo tak to relé tam asi nebude. Jinak pokud ho tam máš včetně magnetu tak to dohledej dle kabelu hledal bych nad přihrádkou u spolujezdce.

Limo* s bussem (166 3.0)
Ex: 156TS
Ex: 156TS
- Franik
- SemTuFurt
- Příspěvky: 3831
- Registrován: 7.1.2007, ned 14:50
- Bydliště: Rychnov nad Kněžnou
- Kontaktovat uživatele:
Re: Klíček ke 156 a vše kolem
u 156SW po face je jednotka někde vzadu v kufru pod kobercem alespoň mě to říkal elektrikář co mě zapojoval neorigo alarm který má na sobě právě otevírání kufru dálkou a tak to musel táhnout až dozadu k jednotce.
Giulietta QV 10/2010 ex.
156 SW 2,4 129kW ex
156 2,5V6 ex
https://www.facebook.com/AutoklempirRovnaniMetodouPdr?fref=ts
156 SW 2,4 129kW ex
156 2,5V6 ex
https://www.facebook.com/AutoklempirRovnaniMetodouPdr?fref=ts
Re: Klíček ke 156 a vše kolem
Spíš naopak jednotka bude vpředu a musel táhnou kabeláž dozadu k zámku ne?...=o)
Alfa Romeo 156 2,4 JTDm 129kW (2005)
Bejvalky:
Alfa Romeo 145 1,9 JTD 77kW (1999)
Alfa Romeo 156 1,9 JTD 85kW (2003)
Bejvalky:
Alfa Romeo 145 1,9 JTD 77kW (1999)
Alfa Romeo 156 1,9 JTD 85kW (2003)
Re: Klíček ke 156 a vše kolem
Tak chlapci relé dálkového ovládání je píchnuté v pojistkové skříňce, umístěné před koleny řidiče pod zásuvkou OBD. Jsou dva druhy zatím nevím jaký je v nich rozdíl kromě toho, že jedno je 20A (46520421) a druhé 30A (82461739). Zezadu pojistkové skříně by to mělo být na levé straně první od spodu nebo třetí od vrchu. ;) Snad Ti to Botásku pomůže... :P
Alfa Romeo 156 2,4 JTDm 129kW (2005)
Bejvalky:
Alfa Romeo 145 1,9 JTD 77kW (1999)
Alfa Romeo 156 1,9 JTD 85kW (2003)
Bejvalky:
Alfa Romeo 145 1,9 JTD 77kW (1999)
Alfa Romeo 156 1,9 JTD 85kW (2003)
Re: Klíček ke 156 a vše kolem
Děkuji za tip, tomu říkám rychlost :-) Snad se na to ještě teď půjdu podívat 

AR145 JTD 208HP 480NM http://horsepowers.in/diskuze/index.php?msg_group=1&action=show&id=105901
EX: AR156 JTDm SW 216HP - opel mi už nesmí do baráku...
EX: Lancia Kappa 2.4 129kW - fajn kočár
EX: AR156 JTDm SW 216HP - opel mi už nesmí do baráku...
EX: Lancia Kappa 2.4 129kW - fajn kočár
Klíček ke 156 a vše kolem
Tak sem se tam byl doopravdy mrknout. A nasel sem dve 50A rele, jedno na tlumena svetla a druhe na vyhrivani zadniho okna. myslel sem, ze je vyfotim, ale nejak se nepovedlo. Jsou na levo od spodnich pojistek. Trebas sem jen slepy...
tesino, tohle info co jsi napsal jsi urcite vycetl na nejakym chytrym papiru vid, ale chtelo by to se tam opravdu mrknout :-)

AR145 JTD 208HP 480NM http://horsepowers.in/diskuze/index.php?msg_group=1&action=show&id=105901
EX: AR156 JTDm SW 216HP - opel mi už nesmí do baráku...
EX: Lancia Kappa 2.4 129kW - fajn kočár
EX: AR156 JTDm SW 216HP - opel mi už nesmí do baráku...
EX: Lancia Kappa 2.4 129kW - fajn kočár
Re: Klíček ke 156 a vše kolem
Mrkni ještě na tohle... 

Alfa Romeo 156 2,4 JTDm 129kW (2005)
Bejvalky:
Alfa Romeo 145 1,9 JTD 77kW (1999)
Alfa Romeo 156 1,9 JTD 85kW (2003)
Bejvalky:
Alfa Romeo 145 1,9 JTD 77kW (1999)
Alfa Romeo 156 1,9 JTD 85kW (2003)
Re: Klíček ke 156 a vše kolem
Přesně tak, záleží jaký máš ročník. Ale pokud starší kolem roku 2000 tak pojistkovka je obou straná. Pokud novější tak pojistkovka je spolena zadní stranou s Body modulem přes konektor tak tam to relé nenajdeš.
Ale dle fotky to vypadá na starej systém. Jinak, ale stejně jednotka od dálkáče je za příhrádkou spolujezdce a tam by si to měl napojit, protože nevím jak chceš rozebírat pojistkovku a dohledáavat na který drát jde ten správný kontakt z jednotky.
Ale dle fotky to vypadá na starej systém. Jinak, ale stejně jednotka od dálkáče je za příhrádkou spolujezdce a tam by si to měl napojit, protože nevím jak chceš rozebírat pojistkovku a dohledáavat na který drát jde ten správný kontakt z jednotky.
Limo* s bussem (166 3.0)
Ex: 156TS
Ex: 156TS
Re: Klíček ke 156 a vše kolem
Tak určitě nebudu rozebírat pojistkovku, např ty relátka od světel jsou pouze přicvaknuté ke kovovému plíšku. To by bylo dohledání jednoduché. Dneska sundám ten slavný kastlík a snad budu zas o něco chytřejší :-)
AR145 JTD 208HP 480NM http://horsepowers.in/diskuze/index.php?msg_group=1&action=show&id=105901
EX: AR156 JTDm SW 216HP - opel mi už nesmí do baráku...
EX: Lancia Kappa 2.4 129kW - fajn kočár
EX: AR156 JTDm SW 216HP - opel mi už nesmí do baráku...
EX: Lancia Kappa 2.4 129kW - fajn kočár
Re: Klíček ke 156 a vše kolem
A jak sem napsal, také sem učinil. No a zjistil spoustu věcí. Například, že v půl osmý je tma jak v pr... a nevidím si ani na špičku nosu
jináč Frantík měl pravdu, jednotka dálky včetně dou relátek (otevírání kufru a blinkry) je umístěna v pravé části kufru. Fotky za okamžik :-)

jináč Frantík měl pravdu, jednotka dálky včetně dou relátek (otevírání kufru a blinkry) je umístěna v pravé části kufru. Fotky za okamžik :-)
AR145 JTD 208HP 480NM http://horsepowers.in/diskuze/index.php?msg_group=1&action=show&id=105901
EX: AR156 JTDm SW 216HP - opel mi už nesmí do baráku...
EX: Lancia Kappa 2.4 129kW - fajn kočár
EX: AR156 JTDm SW 216HP - opel mi už nesmí do baráku...
EX: Lancia Kappa 2.4 129kW - fajn kočár
Klíček ke 156 a vše kolem
Pohled za kastlik, tam sem se byl podivat nazacatek
AR145 JTD 208HP 480NM http://horsepowers.in/diskuze/index.php?msg_group=1&action=show&id=105901
EX: AR156 JTDm SW 216HP - opel mi už nesmí do baráku...
EX: Lancia Kappa 2.4 129kW - fajn kočár
EX: AR156 JTDm SW 216HP - opel mi už nesmí do baráku...
EX: Lancia Kappa 2.4 129kW - fajn kočár
Klíček ke 156 a vše kolem
A tam divna bila krabicka
AR145 JTD 208HP 480NM http://horsepowers.in/diskuze/index.php?msg_group=1&action=show&id=105901
EX: AR156 JTDm SW 216HP - opel mi už nesmí do baráku...
EX: Lancia Kappa 2.4 129kW - fajn kočár
EX: AR156 JTDm SW 216HP - opel mi už nesmí do baráku...
EX: Lancia Kappa 2.4 129kW - fajn kočár
Klíček ke 156 a vše kolem
Pote presun do kufru, pohled na konektor u elektromagnetu otevirani.
AR145 JTD 208HP 480NM http://horsepowers.in/diskuze/index.php?msg_group=1&action=show&id=105901
EX: AR156 JTDm SW 216HP - opel mi už nesmí do baráku...
EX: Lancia Kappa 2.4 129kW - fajn kočár
EX: AR156 JTDm SW 216HP - opel mi už nesmí do baráku...
EX: Lancia Kappa 2.4 129kW - fajn kočár
Klíček ke 156 a vše kolem
No a konecne jednotka dalky vcetne prislusenstvi
AR145 JTD 208HP 480NM http://horsepowers.in/diskuze/index.php?msg_group=1&action=show&id=105901
EX: AR156 JTDm SW 216HP - opel mi už nesmí do baráku...
EX: Lancia Kappa 2.4 129kW - fajn kočár
EX: AR156 JTDm SW 216HP - opel mi už nesmí do baráku...
EX: Lancia Kappa 2.4 129kW - fajn kočár
Klíček ke 156 a vše kolem
Dalka
AR145 JTD 208HP 480NM http://horsepowers.in/diskuze/index.php?msg_group=1&action=show&id=105901
EX: AR156 JTDm SW 216HP - opel mi už nesmí do baráku...
EX: Lancia Kappa 2.4 129kW - fajn kočár
EX: AR156 JTDm SW 216HP - opel mi už nesmí do baráku...
EX: Lancia Kappa 2.4 129kW - fajn kočár
Kdo je online
Uživatelé prohlížející si toto fórum: Žádní registrovaní uživatelé a 11 hostů